+7 (912)-751-33-24Заказать звонок
Заказать звонок

Оставьте Ваше сообщение и контактные данные и наши специалисты свяжутся с Вами в ближайшее рабочее время для решения Вашего вопроса.

Ваш телефон
Ваш телефон*
Ваше имя
Ваше имя

* - Поля, обязательные для заполнения

Сообщение отправлено
Ваше сообщение успешно отправлено. В ближайшее время с Вами свяжется наш специалист
Закрыть окно
arbatex@list.ru
Каталог товаров
Подписка на новости магазина

Подпишитесь на рассылку и получайте свежие новости и акции нашего магазина.

Описание товара:

Трансформатор ТПП307-127/220-50 осуществляет преобразование переменного напряжения и/или гальваническую развязку в самых различных областях применения - электроэнергетике, электронике и радиотехнике.
903.50 руб. / шт Цена не является конечной и требует уточнения у менеджера.
Загрузка
Рассчитываем стоимость доставки
Пожалуйста подождите, рассчет займет немного времени

Описание товара

Описание

Трансформатор ТПП307-127/220-50 — это статическое электромагнитное устройство, имеющее две или более индуктивно связанные обмотки на каком-либо магнитопроводе и предназначенное для преобразования посредством электромагнитной индукции одной или нескольких систем (напряжений) переменного тока в одну или несколько других систем (напряжений), без изменения частоты.

Трансформатор ТПП307-127/220-50 осуществляет преобразование переменного напряжения и/или гальваническую развязку в самых различных областях применения — электроэнергетике, электронике и радиотехнике.

Параметры и характеристики:


Трансформаторы малой мощности ТПП307-127/220-50 предназначены для работы в устройствах, собранных на полупроводниковых приборах в радиоэлектронной аппаратуре, аппаратуре средств связи и электронно-вычислительных машинах, а также в бытовой РЭА при питании от промышленной и специальной сети переменного тока напряжением 127 и 220 В с частотой 50 Гц.
Трансформаторы охватывают широкий диапазон напряжений и токов при мощности до 500 В*А.
Наличие нескольких вторичных обмоток, рассчитанных на различные токи и напряжения, возможность их последовательного и параллельного соединений, позволяют получать разнообразные сочетания токов и напряжений для питания устройств различного функционального назначения.
В зависимости от заданных условий эксплуатации трансформаторы типа ТПП изготавливают с учетом внешних воздействующих факторов: климатических, механических, биологических. В зависимости от требований к влагоустойчивости трансформаторы изготавливают во всеклиматическом исполнении и для эксплуатации в районах с умеренно-холодным климатом.

Основные технические характеристики трансформатора ТПП307-127/220-50:
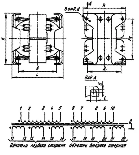
• Габаритные размеры bxhxl ...... 88х137х110 мм;
• Масса ...... 4100 г;
• Типоразмер сердечника ...... ПЛм27х40х36;
• Номинальная мощность ...... 135 В*А;
• Рабочая частота ...... 50 Гц;
• Напряжение первичной обмотки ...... 127/220 В;
• Ток первичной обмотки ...... 1,4/0,79 А;
• Ток вторичной обмотки ...... 3 А;
• Напряжение вторичной обмотки:
- 11-12 ...... 10 В;
- 13-14 ...... 10 В;
- 15-16 ...... 2,49 В;
- 17-18 ...... 10 В;
- 19-20 ...... 10 В;
- 21-22 ...... 2,49 В;
• Температура окружающей среды ...... -60...+85 °С;
• Относительная влажность воздуха при температуре +40 °С ...... 98 %.
Добавить отзыв
Ваша оценка:
Отправить отзыв

Похожие товары (8)

903.50 руб. / шт Цена не является конечной и требует уточнения у менеджера.
ТПП307-127/220-50 трансформатор
Задать вопрос

Ваше имя*
Контактный телефон*
E-mail
Вопрос*

* - Поля, обязательные для заполнения

Сообщение отправлено
Ваше сообщение успешно отправлено. В ближайшее время с Вами свяжется наш специалист
Закрыть окно
Купить в один клик
Заполните данные для заказа
Запросить стоимость товара
Заполните данные для запроса цены
Запросить цену Запросить цену